服務熱線
021-56374192
PHT-6000系列超聲波硬度計
手持便攜式無損硬度計;
一款硬度計結合了UCI探頭和里氏探頭;
測試鋼材小的厚度能夠到2mm,的厚度無限制(其它材料的小測試厚度可能會有變化,這得根據實際的硬度來看);
測值速度非常快;
洛氏硬度值、布氏硬度值和維氏硬度值都能顯示在屏幕上;
大容量存儲帶有USB輸出;
可選擇的手動加載UCI探頭:1kg, 2kg, 5kg & 10kg
可選擇的電動加載UCI探頭: 0.3kg, 0.8kg, & 1kg
可選擇的里氏探頭:D, DC, C, D+15, G & DL
目前在便攜式硬度測試這個領域有兩個基本的方法。
“超聲波接觸阻抗法” 這種硬度測試方法是基于將焊有136°金剛石棱錐體壓頭的振動桿,激勵到其自由振蕩頻率,當壓頭以固定負載與被測物垂直接觸時產生共振,并利用該諧振頻率計算出被測工件的硬度值。UCI探頭硬度計測試過程慢于動態沖擊回彈模式,但是UCI方法的硬度測試便攜,操作簡單以及有更高的測量精度。當用于特定的測試應用程序,它還是有自己優勢的。UCI探頭硬度計像動態沖擊回彈里氏硬度計一樣,對于大質量的被測工件不受影響,不過還能測量低至2mm厚度和硬度值低至20HRC(75HB)的工件。它們也擅長于更大尺寸、更硬金屬材料的硬度測試。越來越受人歡迎的另一個原因是由于UCI測試方法歸類于“無損檢測”。這使得必需檢測的零件,產生更少的廢棄零件,降低生產成本。
“動態沖擊回彈” 1970年代瑞士的Leeb博士提出了里氏便攜硬度測試的原理。一個受彈簧加載的沖擊體沖擊試樣表面,產生回彈。測量沖擊體回彈的速度與沖擊速度的比值,計算里氏硬度值,然后可以自動轉換成HRC,HRB,HB,HV和HS值。這種便攜式的硬度測試方法有效地帶來簡單、快速和準確的結果。
| 超聲波探頭硬度制 | 測量范圍 | 測量精度 |
|---|---|---|
| HRC HRB | 20-70 HRC 41-99 HRB | +/- 1.5 HRC +/-1.5 HRB |
| HRA | 61-85 HRA | +/-1.5 HRA |
| HB HV | 76-618 HB 80-1599 HV | +/- 3% HB +/- 3% HV |
也能測量如下的硬度制(僅是超聲探頭): HR15N – HR30N – HR45N – HR15T – HR30T – HR45T - HRF – HK - HRD
| 里氏探頭硬度制 | 測量范圍 | 測量精度 |
|---|---|---|
| HRC HRB | 25-67 HRC 59-99 HRB | +/- 1.5 HRC +/-1.5 HRB |
| HRB | 85-651 HRB | +/- 10HB |
| HV HS | 83-976 HV 26-99HS | +/- 12 HV +/-10HS |
| HLD | 170-960HLD | +/- 6HL |
| 型號 | 類型說明 | 備注 |
|---|---|---|
| PHT-6001 | UCI超聲波硬度計選配 1kgf手動探頭 | 被測面粗糙度Ra<3.2μm |
| PHT-6002 | UCI 超聲波硬度計選配 2kgf手動探頭 | 被測面粗糙度Ra<5μm |
| PHT-6005 | UCI 超聲波硬度計選配 5kgf手動探頭 | 被測面粗糙度Ra<10μm |
| PHT-6010 | UCI超聲波硬度計選配 10kgf手動探頭 | 被測面粗糙度Ra<15μm |
| 型號 | 類型說明 | 備注 |
|---|---|---|
| PHT-6030 | UCI超聲波硬度計選配0.3kgf電動探頭 | 用來檢測硬化層的硬度,以及成品薄件的硬度 |
| PHT-6080 | UCI超聲波硬度計選配0.8kgf電動探頭 | 用來檢測表面光滑的軸承類工件 |
| PHT-6100 | UCI超聲波硬度計選配1kgf電動探頭 | 用來檢測機加工面 |
| 硬度范圍 硬度制的選擇 測量精度 顯示類型 | HRC: 20- 70; HRB: 41-99 ; HV: 80-1599; HB: 76-618 HRC; HRB; HRA; HB; HV; HLD等更多 +/- 3.0% (測量出少5個點的平均值與硬度塊值的偏差) LCD彩色顯示屏帶有背光,亮度可調 |
| 操作語言選擇 數據記錄 數據存儲 | 英語, 德語, 中文, 西班牙語, 法語等 字母, 數字 2000組單次測量數據; 20組校準數據 |
| 統計軟件 數據輸出 | 能夠將測量數據保存到Word或者Excel 通過提供的USB線輸出 |
| 電池規格 自動關機 | 可充電鋰電池: 電壓-4.2V, 容量4800mAh 5分鐘 |
| 充電時間 電池續航時間 | 大約8小時 大約10小時 (不開背光燈) |
| 凈重(主機) 毛重 | 0.9kg (帶探頭) 5kg |
| 主機尺寸 外包裝尺寸 | 7.0 x 3.1 x 1.1” (160x80x30mm) 13.7 x 17.7 x 5.9” (350x450x150mm) |
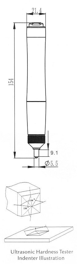
D 沖擊裝置 型號: PHT1800-100 小圓柱支撐環 (直徑8-22mm) 大圓柱支撐環 (直徑16-80mm) 深孔探頭保護帽 (直徑5.53mm/深度15.5mm) 型號: 900330-9410UCI手動探頭技術參數:
探頭類型 PHT-6001 PHT-6002 PHT-6005 PHT-6010 加載力 1kgf (10N) 2kg (20N) 5kg (50N) 10kg (98N) 探頭直徑
長度 br 諧振棒直徑22mm
154mm
2.4mm22mm
154mm
2.4mm22mm
154mm
3mm22mm
154mm
3mm測量表面粗糙度
μm=微米 μin=微英寸Ra<3.2μm
(Ra<125 μin)Ra<5μm
(Ra<197 μin)Ra<10 μm
(Ra<393 μin)Ra<15 μm
(Ra<590 μin)小工件重量
小工件厚度0.3kg (.66lbs)
2mm (.08”)0.3kg (.66lbs)
2mm (.08”)0.3kg (.66lbs)
2mm (.08”)0.3kg (.66lbs)
2mm (.08”)


UCI電動探頭技術參數:
探頭類型/型號 PHT-6030 PHT-6080 PHT-6100 加載力 0.30kg (3N) 0.80kg (8N) 1kgf (10N) 探頭直徑 46mm 46mm 46mm 長度 198mm 198mm 198mm 諧振棒直徑 3.7mm 3.7mm 3.7mm 測量表面粗糙度
μm=微米 μin=微英寸Ra<3.2μm
(Ra<125 μin)Ra<5 μm
(Ra<197 μin)3.7mmRa<8 μm
(Ra<314 μin)工件小重量 0.3kg (.66lbs) 0.3kg (.66lbs) 0.3kg (.66lbs) 工件小厚度 2mm (.08”) 2mm (.08”) 2mm (.08”)


壓痕深度 (μm)
硬度值 0.3kgf
電動探頭0.8kgf
電動探頭1kgf
電動探頭1kgf
手動探頭2kgf
手動探頭5kgf
手動探頭10kgf
手動探頭800HV 4 5 7 7 10 15 22 600HV 4 5 8 8 11 18 25 500HV 5 6 9 9 12 19 27 300HV 6 8 11 11 16 25 35 100HV 10 13 19 19 27 43 61 可選配件:

特殊應用的沖擊裝置:
D沖擊裝置是通用標準型沖擊裝置
能夠處理絕大多數的硬度測量應用
DL 沖擊裝置 型號: PHT1800-115
DL沖擊裝置有一個直徑為4mm,長度為50mm的針狀前部。它特別適用于極其有限的空間、溝槽的底部及特殊部位如齒輪的硬度測量
G 沖擊裝置 型號: PHT1800-125
G沖擊裝置有一個增大的測試球頭,用于測量大型部件如大型鑄件及鍛件的布氏硬度
DC 沖擊裝置 型號: PHT1800-120
DC沖擊裝置是非常短的沖擊裝置,用于那些有限的測量區域,如氣缸、鉆孔內部的測量
D+15 沖擊裝置 型號: PHT1800-110
D+15沖擊裝置有一個后置的測量線圈,用于測量溝槽或凹面的硬度
C 沖擊裝置 型號: PHT1800-130
C沖擊裝置減少了沖擊能量,用于測量小的或者輕薄型的工件沖擊裝置的技術參數:
沖擊裝置類型 D/DC/DL D+15 C G 沖擊能量 11Nmm 11Nmm 3Nmm 90Nmm 沖擊體質量 5.5g 7.8g 3.0g 20g DL: 7.2g 測試球頭 * 硬度 1600HV 1600HV 1600HV 1600HV * 直徑 3mm 3mm 3mm 5mm * 材料 碳化鎢 碳化鎢 碳化鎢 碳化鎢 沖擊裝置 沖擊裝置 * 直徑 20/20/4mm 20mm 20mm 30mm * 長度 147/86/202mm 162mm 141mm 254mm * 重量 75/50/60g 80g 75g 250g 試件的硬度 940/940/950HV 940HV 1000HV 650HB 試件的表面要求 * 粗糙深度 Rt 10 μ m 10 μ m 2.5 μ m 30 μ m * 平均粗糙度 Ra 2 μ m 2 μ m 0.4 μ m 6.3 μ m 可直接測量的試件小重量 5kg 5kg 1.5kg 15kg 可直接測量的時間小厚度 * 鋼材 25mm 25mm 25mm 25mm 測試球頭的壓痕尺寸 硬度300 HV時 * 壓痕直徑 0. 54mm 0. 54mm 0. 38mm 1.03mm * 壓痕深度 24 μ m 24 μ m 12 μ m 53 μ m 硬度600 HV時 * 壓痕直徑 0. 45mm 0. 45mm 0. 32mm 0. 90mm * 壓痕深度 17 μ m 17 μ m 8 μ m 41 μ m *硬度800 HV時 * 壓痕直徑 0. 35mm 0. 35mm 0. 30mm * 壓痕深度 10 μ m 10 μ m 7 μ m 輔助測試支架 型號: MET-1000

型號: PHT6000-521
型號: PHT6000-531
型號: PHT6000-541
PHT-6000系列可選配的硬度試塊
NIST認證的試塊套裝-3塊
包含有: 20HRC,一塊;
40HRC,一塊;
60HRC,一塊;
每個試塊都帶有NIST證書
鋁塊/銅塊材質的洛氏塊
型號 硬度制 形狀 數值范圍 備注 900330-9414AH HRB 方形塊 80’s 美國制造 鋁塊 900330-9414AL HRB 方形塊 50’s 美國制造 鋁塊 900330-9418H HRE 方形塊 90’s 美國制造 鋁塊 900330-9418L HRE 方形塊 60’s 美國制造 鋁塊 900330-9414BH HRB 方形塊 80’s 美國制造 鋁塊 900330-9414BL HRB 方形塊 50’s 美國制造 鋁塊

里氏硬度試塊
型號 硬度制 形狀 數值范圍 備注 PHT1300-01 里氏D型試塊 圓形 750-800(HRC 50’s) Phase II 標準 PHT130001-cert 里氏D型試塊 圓形 750-800(HRC 50’s) NIST 認證 PHT1300-02 里氏D型試塊 圓形 590-670(HRC40’s) Phase II 標準 PHT130002-cert 里氏D型試塊 圓形 590-670(HRC40’s) NIST 認證 PHT1300-03 里氏D型試塊 圓形 590-670(HRC40’s) Phase II 標準 PHT130003-cert 里氏D型試塊 圓形 490-570(HRC20’s) NIST 認證 PHT1100G-01 里氏G型試塊 圓形 480-670 配G型沖擊裝置使用 PHT1100G-01C 里氏G型試塊
ASTM布氏認證圓形 480-670 (HB200’s) 配G型沖擊裝置使用 
布氏硬度試塊
型號 試塊類型 形狀 數值范圍 備注 900355-1000/150 3000kg 圓形 150-250 150-250 900355-3010 3000kg 長條形 低值 美國制造 鋁塊 900355-3020 3000kg 長條形 高值 美國制造 鋁塊 900355-3030 3000kg 長條形 100-200HB 美國制造 鋼塊 900355-3040 3000kg 長條形 250-350HB 美國制造 鋼塊 900355-3050 3000kg 長條形 500+HB 美國制造 鋼塊 
